emilspec
An Integrated Publishing, Inc. Site
eMilSpec
An Integrated Publishing Website
MIL-DTL-6363-3 Lamps, Incandescent, Aircraft Use, Single Contact Bayonet Candelabra Base, Reflector Type
Pages
1
-
2
-
3
-
4
-
5
-
6
MIL-DTL-6363/3D
FIGURE
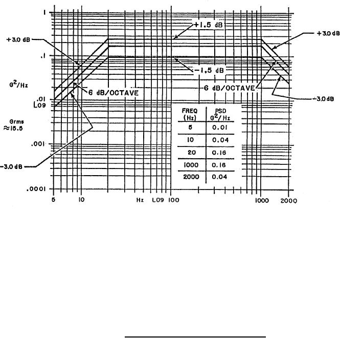
2. Random vibration curve for 28v lamps.
4