
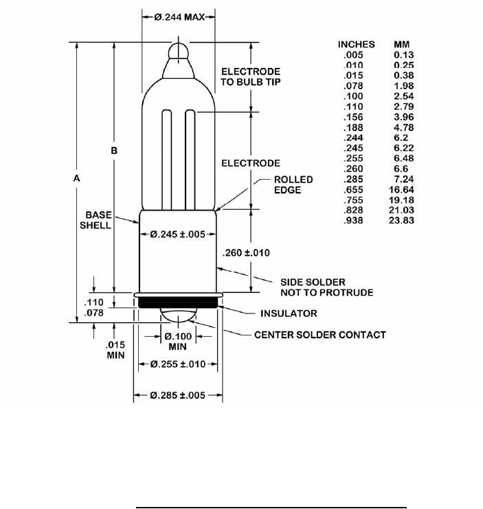
MIL-DTL-15098/11C
NOTES:
1. Dimensions are in inches.
2. Metric equivalents are given for general information only and are based upon 1 inch = 25.4 mm.
3. No portion of the bulb shall be more than .125 (3.18 mm) from the extended lamp base axis.
FIGURE 1. Indicator glow lamp, types C7A, C9A, A1G, and A1H.
2
For Parts Inquires call Parts Hangar, Inc (727) 493-0744
© Copyright 2015 Integrated Publishing, Inc.
A Service Disabled Veteran Owned Small Business